english
Tension Clamps are designed to connect ADSS cables and poles/towers . Armor rods can provide protection and cushioning to the ADSS cables. The special design of Preformed rods makes ensure that Tension Clamps can’t cause undue stress to the ADSS cables, so as to ensure the normal lifetime of cables system.
Preformed Tension Clamp are designed to connect ADSS cables and poles/towers . Armor rods can provide protection and cushioning to the ADSS cables. The special design of Preformed rods makes ensure that Tension Clamps can’t cause undue stress to the ADSS cables, so as to ensure the normal lifetime of cables system.
Tension Clamp are designed to connect OPGW cables and tensile poles (or towers). Armor rods can protect and provide cushioning to the OPGW cables. The special design of Armor rods makes ensure that Tension Clamps can not cause undue stress to the OPGW cables,so that the normal lifetime of cable system is ensured.

Matching hardware
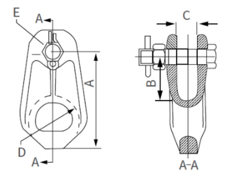
Heart-shaped ring (picture 1-1) (table 1-1) (circle 1-2) (table 1-2)
Body: Hot-dip galvanized ductile iron Bolt: Made of hot-dip galvanized steel
Split pin: stainless copper
Heart-shaped ring

Product number | Reference mark | Breaking strength | weight | Size (mm) | ||||
A | B | C | D | E | ||||
TC-12 | TC-12 | 120 | 0.9 | 107 | 48 | 24 | 57 | M16 |
TC-16 | TC-16 | 156 | 1.7 | 124 | 57 | 25.4 | 64 | M18 |
TC-16 | TC-16 | 156 | 1.7 | 124 | 57 | 25.4 | 64 | M16 |

Product number | Reference mark | Breaking strength | weight | Size (mm) | |||||
A | B | C | D | E | |||||
TC-05 | TC-05 | 50 | 0.33 | 60 | 45 | 20 | 40 | 16 | |
TC-07 | TC-07 | 70 | 0.44 | 60 | 45 | 20 | 42 | 16 | |


